科研进展

重点实验室揭示流域土地利用对湖泊脱氮功能的影响及其作用机理
2015/11/03 | 来源:| 【字号: 】【打印】【关闭

  土地利用变化对区域水环境乃至全球气候变暖都存在着显著影响。反硝化过程能有效降低水体中的氮含量以及富营养化水平,是浅水湖泊最重要的脱氮途径。前人研究已经阐明水质、底泥性质以及水生植物的群落结构都可能在一定程度上影响湖泊的反硝化脱氮能力,但到目前为止,学术界对流域土地利用影响湖泊反硝化过程的机理还缺乏基本了解。 

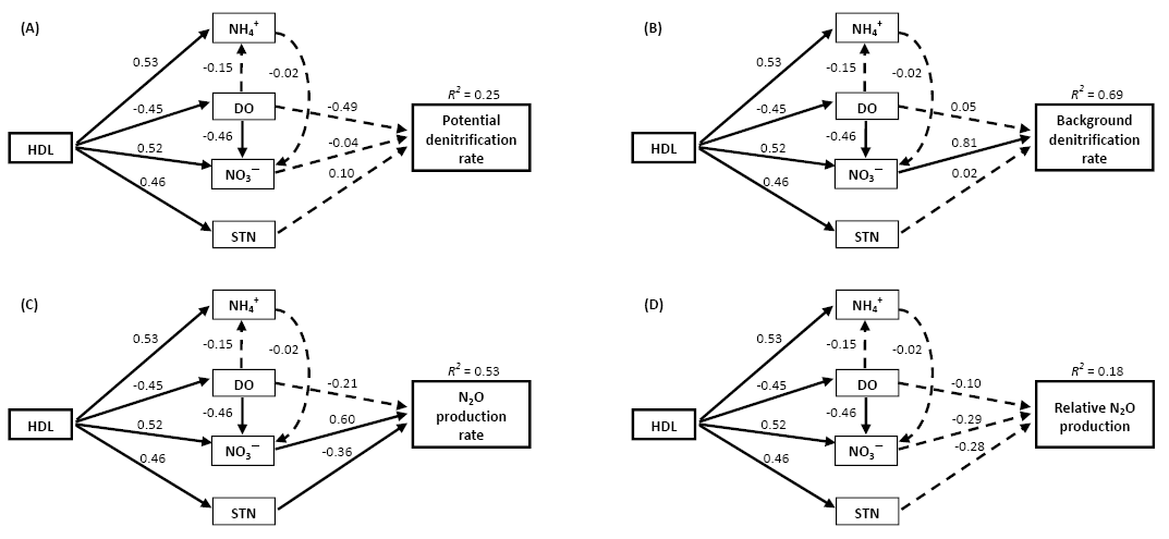
  重点实验室的刘文治、姚璐和刘贵华等科研人员测定了长江中下游地区20个浅水湖泊67个底泥样品的潜在反硝化、背景反硝化、N2O产量以及相对N2O产量等参数。研究发现,流域土地利用对湖泊水质和底泥性质都存在显著性影响,但对水生植物的多样性及生物量没有影响。底泥的反硝化和N2O产量仅仅与水质参数显著相关。结构方程模型(SEM)分析表明流域内的人类活动(包括农业和城市土地利用)主要通过改变水质来影响湖泊底泥的反硝化能力和N2O产量。 

  相关研究结果发表于欧洲地球科学联盟EGU主办的学术期刊Biogeosciences。研究受到国家自然科学基金(31570535)和国家水专项(2013ZX07102–005)的联合资助。 

 

   

  流域人类活动(HDL)影响湖泊底泥反硝化和N2O产量的路径分析  

相关附件:

中国科学院水生植物与流域生态重点实验室 版权所有:中国科学院武汉植物园
技术支持:武汉植物园科技支撑中心 鄂ICP备05004779-1号 鄂公网安备42018502004676号